
此外,颐硕堂还宣传即将上市,向代理商们销售原始股,并承诺上市之后可以获得数百万的高额回报。
那么颐硕堂真的可以一元养生,加入其中真的可以发财吗?
来源:颐硕堂线下店
公司背景,颐硕堂
NO.1
来源:公司会议
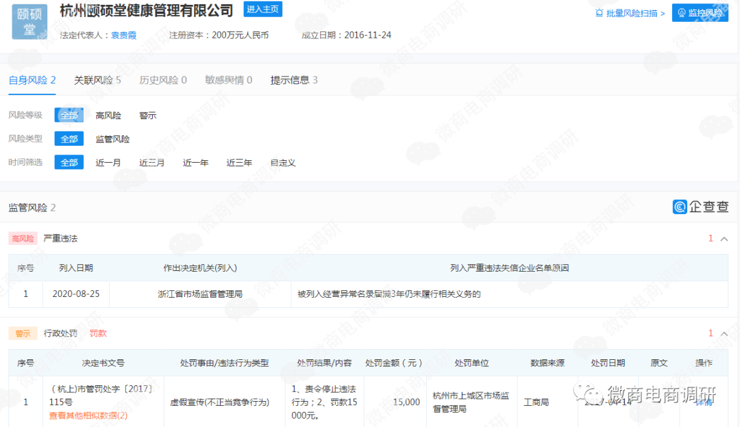
来源:企查查

来源:企查查
经查,韩素海又名韩斌,是杭州颐硕堂一元养生的创始人,分别投资了杭州颐硕堂健康管理有限公司和杭州展硕实业投资股份有限公司。

来源:一元养生内部会议
来源:韩素海登上某杂志首页


来源:企查查
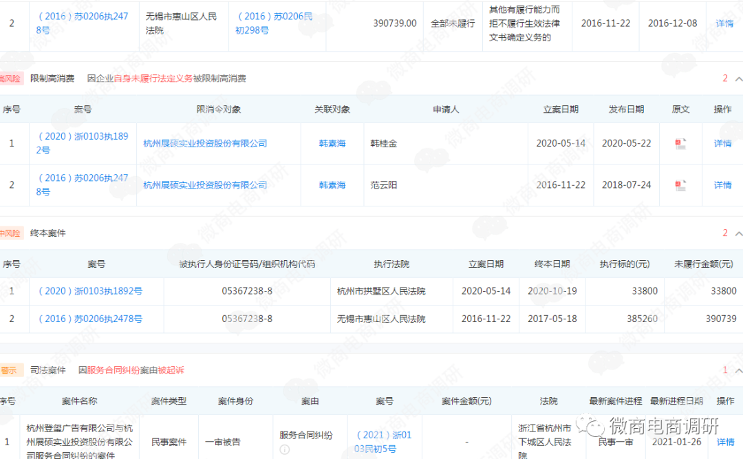
展硕实业投资股份有限公司在2016年11月22日因为民间借贷纠纷案件被无锡市惠山区人民法院执行了一次执行标为390739元的裁定。展硕公司因为欠范某钱,而被范某告上了法庭。
来源:企查查
展硕公司在2018年7月24日因未履行执行通知书指定的期间履行生效法律确定的给付义务被无锡市惠山区人民法院对其采取限制消费措施。
违法销售原始股,被法院执行
NO.1
特别需要注意的是,展硕实业投资股份有限公司曾因销售原始股,被投资者起诉,该案的裁判文书具体如下。
来源:中国裁判文书网

最终法院判决杭州展硕实业投资有限公司应履行案款本金29800元、利息4000元及延迟履行期间的债务利息、案件受理费645元、执行费407元。
来源:企查查
该公司在2020年5月22日因未履行执行通知书指定的期间履行生效法律确定的给付义务被杭州市下城区人民法院对其采取限制消费措施。
加入颐硕堂可以享受一元养生?
NO.1
据介绍,颐硕堂公司有7个运营板块分别是:新零售、一元养生会所、一元粥铺连锁、直播电商、渠道供货、合作人开店、社区公益。
来源:“光头荞一元连锁”的微信小程序商城
微商电商调研看到,一个名为“光头荞一元连锁”的微信小程序商城,里面有很多产品,放在首页有多种产品,如明目茶、神农韩氏茶、韩氏养生酒等。


据宣传,加盟一元养生,最主要的诱惑力就是高额的奖金回报,对此微商电商调研展开了调查
五级代理,多种“奖金”
NO.1
据悉,颐硕堂采取的是五级分销的销售模式,五个级别分别是养生会员、养生大使、一元养生会所、市代理、省代理。
来源:一元养生招商资料

一元养生针对不同等级的代理设有多种奖励,分别有以下几种:










颐硕堂一元养生的推广模式,看似是为了增加销售业绩,通过增加使用人数、使用量来获得收益,实则是诱导消费者购买与实际价值不相匹配的产品获得代理资格,邀请一定的人数来进行升级,并且以免费开线下店的形式吸引人流量。
奖励条件条件中的对“推荐人数”“团队人数”的要求,暴露了其不是以考核销售业绩,而是以拉人头的方式来建立多层次团队的本质。鼓励代理“拉人头”,来组成不同的层级,以直接或者间接的方式把增加团队人数当做计酬返利分红的依据,涉嫌违法违规。
特别需要注意的是,一元养生代理介绍,杭州展硕实业投资股份有限公司准备3年内上市,目前已经启动了相关的上市程序,并向代理销售原始股。
从其宣传的招商政策上可以看到,有根据代理业绩赠送公司上市原始股的激励政策,称“如果实现公司品牌价值500亿美金价值3300亿人民币,公司让1000个优秀人才都是一个亿,都是亿万富豪, 1000个千万富翁,10万个百万富豪。”
实际上,早在2020年杭州展硕实业公司就因销售原始股,而陷入经济纠纷,裁判文书前文已提,这从法律层面说明了展硕实业公司目前尚不具备上市条件,以原始股引诱代理投资涉嫌违法违规。

网友评论