随着双碳目标的推动,光伏太阳能发电成为这几年十分火爆的行业。最近,微商电商调研注意到,金伯睿(山东)新能源科技有限公司推出的“中瑞光电”项目十分高调地在全国招商,以“挣阳光的财富,做太阳的老板”的口号,宣传有国家政策支持、央企团队助力,只需要投资3390元,便可以实现“处处有收益,时时能创收”。
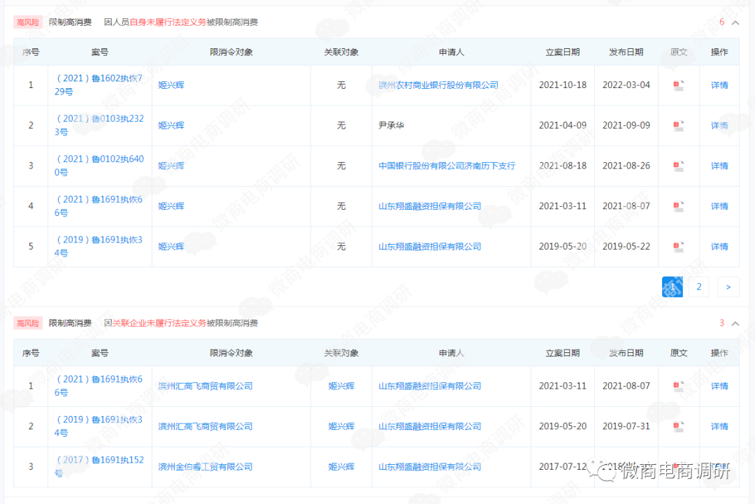
但事实上,中瑞光电的加盟模式设置了四个级别,采用“拉人头”、“团队计酬”的模式招商,而中瑞光电背后的企业金伯睿相关高管深陷法律纠纷,数次成为“老赖”。针对金伯睿以及中瑞光电我们进行了深入了解。
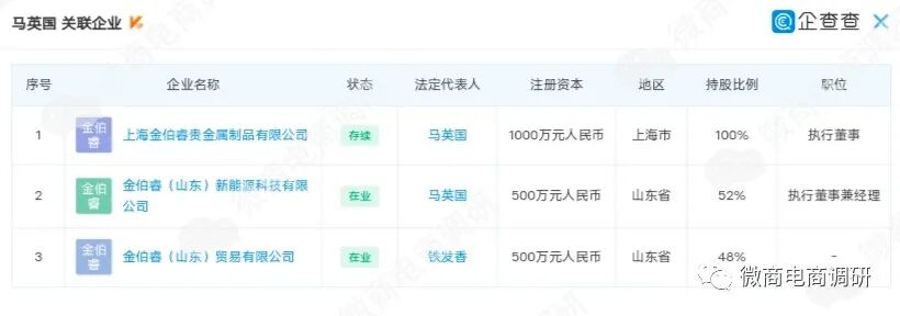
公司背景,金伯睿集团
图片来源:企查查

图片来源:企查查
图片来源:企查查

深圳金伯睿基金管理有限公司工商信息变更记录

种种迹象表明,姬兴辉是金伯睿集团的重要领导人。2017年10月26日,金伯睿集团与百世联合集团合作,就光伏屋顶发电项目达成战略合作,姬兴辉出席,以董事长的身份发表讲话;
2018年12月15日,香港金伯睿集团成立的新闻发布会上,姬兴辉作为金伯睿集团董事长出席,并与相关企业签约。

另据了解,在中瑞光电项目的宣传课件上,深圳金伯睿基金管理有限公司成为了中瑞光电的私募基金公司。
图片来源:企查查

来源:中国裁判文书网


图片来源:企查查
“中瑞光电”商品价格虚高,商品仅为工具?
微信搜索“中瑞光电”,可以通过其公众号下载“中瑞光电”APP,或者通过代理分享的二维码进行注册下载登录。

在“中瑞光电”讲师和代理的口中,“中瑞光电”商城是一个顺应国家政策,投资共建电站,获得电费分红的平台。然而,根据微商电商调研发现,该平台售卖着价格虚高的商品。
图片来源:中瑞光电APP
“中瑞光电”商城中有水杯、锅具、茶叶、酒、护肤品等商品。值得注意的是,所有商品统一定价339元/份,10份起购。10份的价格3390元,恰好是“中瑞光电”的投资门槛。投资人只需要任意选择一款商品购买10份,便可加入“中瑞光电”,获取持续收益。
图片来源:中瑞光电APP
“中瑞光电”四级推广拉人头,模式涉嫌违法违规
据“中瑞光电”代理宣传,只需要投资3390元,便可以“处处有收益,时时能创收”,那么“中瑞光电”是如何赚钱的呢?
图片来源:中瑞光电代理


推广收益:10000绿碳积分每天释放3‰(30积分),全部释放完需要333天,而直接推荐一个好友,可获得其70%释放积分的加速。推荐好友购买3390的商品,好友获赠10000绿碳积分,每天释放30分,便可以获得30×70%=21积分的释放加速。每日便可获得51(30+21)积分的释放,释放周期缩短为196天,直推10个人,释放周期便可缩短为41天,直推100个人,释放周期便可缩短为5天。直接推广好友达到3人,便可以获得间接推广加速。上级代理所推广的好友所发展的所有直属下线和间接下线都可以为上级提供30%间接推广加速,没有层数和时间限制。此时,也就形成了团队。
图片来源:中瑞光电代理
近日,“中瑞光电”还推出了“推广注册,豪礼送不停”的活动。推荐两位新朋友注册中瑞光电APP,并邀请入群。即可联系客服,上报新朋友注册编号,领取价值159元的“宝芝林太白醒”礼盒(每日赠送50箱,赠完为止)。而关于宝芝林太白醒的相关调查,此前微商电商调研已经进行了深度曝光。
图片来源:中瑞光电公众号
公司分红:等级达到经理和总监后可以额外享受公司分红。公司将全公司每天释放总积分的40%作为分红奖励。其中,50%的积分平均分配给所有经理和总监,余下的50%积分按照每个经理和总监的团队业绩的多少进行加权比例分红。
图片来源:中瑞光电代理

“中瑞光电”以购买一定额度的商品作为受利条件,通过推荐拉人头并使其消费来加速获利,形成上下线关系的团队,并以团队的销售业绩来获得相应的分红。这种团队计酬的模式或涉嫌违法违规。
近年来,以光伏发电为宣传噱头的项目,大肆拉人头并最终被法院定性为组织领导传销罪的案例不在少数。2016年12月6日,车某、杨某伙同罗某三人共同出资成立了广州某能源科技有限公司,以推广光伏发电为名,在广州某能源科技有限公司里建立一个资金投资平台,要求他人以每股1400元或2800元的额度加入平台获取会员资格,并以静态奖励和动态奖励为诱饵,通过拉人头方式发展下线并从中提成非法获利。罗某、庞某、陈某、钱某加入该公司的资金投资平台后,以推广光伏产业为名,通过讲课、现场推介、微信宣传等方式发展的直接或者间接下线累计超过三十人且层级在三级以上。法院审判认为,车某、杨某作为广州某能源科技有限公司股东,是该公司资金投资平台的设立者,应对该平台设立后产生的后果承担法律责任,罗某、庞某、陈某、钱某涉嫌组织、领导传销活动,涉案金额为250万元以上,按照《最高人民法院、最高人民检察院、公安部关于办理组织领导传销活动刑事案件适用法律若干问题的意见》:判处罗某有期徒刑五年十一个月,并处罚金220000元,杨某有期徒刑五年十一个月,并处罚金220000元,车某有期徒刑五年九个月,并处罚金250000元,庞某有期徒刑五年八个月,并处罚金190000元,陈某有期徒刑五年六个月,并处罚金150000元,钱某有期徒刑五年三个月,并处罚金100000元。
另外,2019年3月15日,建始县公安局发布通告,湖北永恒太阳能集团公司丁尚云等人涉嫌组织、领导传销活动案,丁尚云、刘利福、刘春波等多名涉案骨干成员被依法采取刑事强制措施。据悉,湖北永恒太阳能集团公司宣传是一家集太阳能光电研究、生产、销售、安装、服务为一体的股份制公司。规划在3到5年,拓展3千家子公司,每家子公司建设云电站400座,每座云电站装机量30-50KW,每座电站日收益为200元,全年综合收益876亿。2017年公司开始出现停止支付承诺的“工资”的现象,直到建始县公安局发布通告,宣布永恒公司涉嫌传销,投资者的欠款也未收回。
“光伏发电”确实是国家扶持的新能源项目,享受国家政策支持。但对于普通投资者而言,想要投资光伏项目,还是需多方考察,谨慎投资,谨防上当受骗。



网友评论